立即下载

平开门系统合页简介

3D门合页采用特殊高强度铝合金与不锈钢结合,具有极强的耐腐蚀性能,承重能力高达120KG。

通过100,000次寿命测试,门扇几乎零下垂,盐雾测试750小时符合ISO 9227标准。

创新设计采用特殊螺母,支持高度、水平和气密性多维调节,安装便捷高效。

平开门系统合页应用场景

平开门系统 - 合页

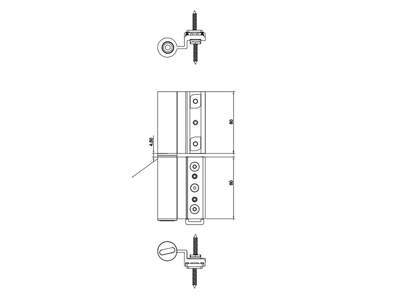
技术参数

  • 1.承重能力120KG
  • 2.寿命测试100,000次,符合EN 1191标准
  • 3.高度调节:+/-1.5mm
  • 4.水平调节A,U形垫片厚度0mm、1mm、1.5mm。B,偏心调节+/-1.5mm
  • 5.气密性调节通过偏心套筒+/-1.5mm

平开门系统合页优点

  • 1.高承重能力和100,000次循环测试,门扇几乎零下垂
  • 2.特殊高强度铝合金与不锈钢结合,极强的耐腐蚀性
  • 3.创新设计,采用特殊螺母
  • 4.盐雾测试750小时,符合ISO 9227标准,CCT 240小时,符合ASTM G85 A5标准

平开门系统合页安装说明

1

平开门系统合页安装步骤1

3D门合页安装步骤1

在C槽中间钻一个4.2mm的孔,选择合页的正确位置。

参照型材图纸进行操作。

将公合页放在框架上对齐孔位,拧紧螺丝然后安装自攻螺丝。

2

平开门系统合页安装步骤2

3D门合页安装步骤2

检查T型螺母是否已卡入框架C槽,确保其已卡紧。

将合页放在C槽表面,拧紧螺丝,T型螺母将被推入C槽。

扇侧:插入背板并放置到正确位置,与公合页对齐。

将母合页放到背板上,按照图示拧紧螺丝。

3

平开门系统合页安装步骤3

3D门合页安装步骤3

调整并检查4.5mm间隙是否均匀分布。

使用Torx螺丝刀工具安装自攻螺丝。

水平调节使用垫片0mm、1mm和1.7mm,建议上合页使用0mm,重型门下合页使用1.7mm。

4

平开门系统合页安装步骤4

3D门合页安装步骤4

如图所示,将六角孔从位置1转到位置2,水平方向移动0.75mm,气密性移动0.75mm。注意可通过偏心套筒调节,同时用于气密性和水平调节的组合。

高度调节:转动螺丝的六角孔,使扇上下移动。